Компания Toyota запатентовала новый руль с воздуховодами в феврале 2022 года
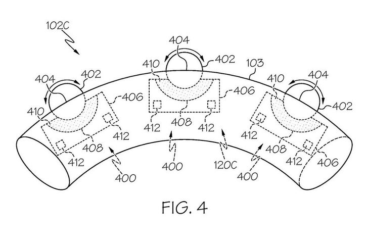
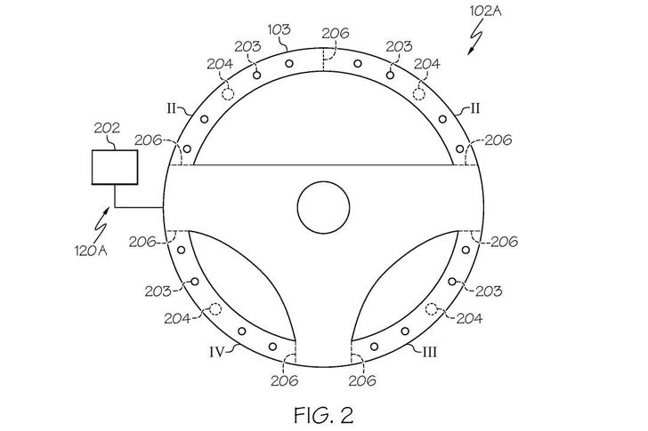
Компания Toyota запатентовала концептуальное рулевое колесо с воздуховодами на ободе. Судя по всему, благодаря «прорезям» и исходящему из них воздуху водитель сможет лучше чувствовать машину и точнее считывать намерения умных ассистентов.

Как предполагают в 110km.ru, выходящий из прорезей воздух будут повышать «сцепление» рук водителя с рулем или, наоборот, помогать ослаблять хватку. В ситуациях, когда руль автоматически поворачивается (например, при работе систем удержания в полосе и контроля рядности движения), технология сможет предупреждать об этом водителя путем создания «воздушной подушки» между руками и ободом по аналогии с аэрохоккеем.


В иной ситуации, если электронике потребуется довернуть руль для достижения идеальной траектории (например, при крутом повороте), система будет буквально притягивать руки водителя к рулю, создавая эффект вакуума. Контролировать силу хвата должны будут встроенные в руль датчики давления.
Когда такие рули пойдут в массовое производство, и пойдут ли вообще, пока неизвестно. Сейчас это обычный концепт, который еще может быть изменен или доработан.