Компания Toyota запатентовала автономный танкер для дозаправки
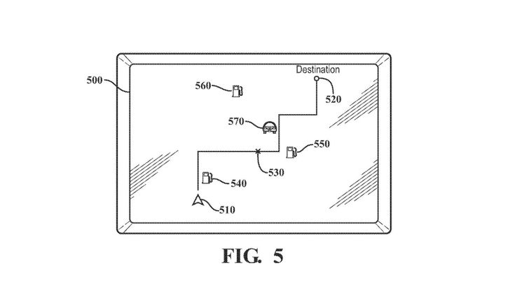
Компания Toyota запатентовала уникальный колесный танкер, который, работая на автопилоте, сможет самостоятельно выезжать по нужному адресу и дозаправлять остановившийся из-за отсутствия топлива автомобиль.

Как сообщают «Автоновости дня» со ссылкой на портал The Drive, принцип работы колесного танкера Toyota почти такой же, как у авиационного топливозаправщика. При этом неясно, сможет ли он дозаправлять машину на ходу, и потребуются ли какие-то действия от водителя «обсохшего» авто (например, выйти и включить установку).




Ориентироваться в пространстве танкер будет с помощью автопилота, уровень автономности которого пока неизвестен, а двигаться по маршруту ему поможет встроенный модуль GPS.
Как бы то ни было, до реального воплощения задумки в жизнь пока далеко, ибо самой продвинутым на сегодняшний день автопилотом считается система автономного вождения третьего уровня, которую получат автомобили Honda в 2021 году. И работать без человека она не сможет – автопилот требует постоянного присутствия водителя, готового в любой момент взять управление на себя.