Автозавод «Москвич» получил сертификаты ОТТС на две новые модели
Характеристики будущих «Москвичей», которые уже скоро начнут выпускать на одноименном заводе в столице, наконец, рассекречены. Пока известно о двух моделях — Одобрения типа транспортного средства (ОТТС) на них появились в открытой базе Росстандарта.

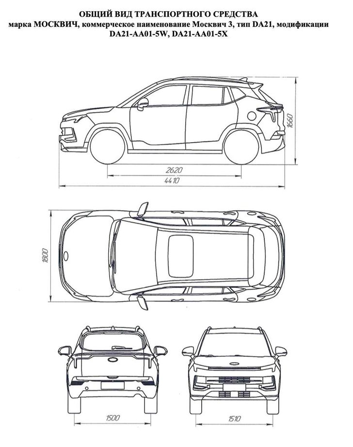
Один из документов оформлен на компактный кроссовер «Москвич 3», который, скорее всего, станет перелицованной версией китайского JAC JS4. По габаритам он сопоставим с Kia Seltos и Skoda Karoq: 4410 мм в длину, 1800 мм в ширину и 1660 мм в высоту при колесной базе 2620 мм.

Переднеприводный паркетник построен на совместной платформе JAC и Volkswagen со стойками типа McPherson спереди и полунезависимой с торсионной балкой сзади. Выпускать и продавать его «Москвич» сможет с двумя бензиновыми двигателями: 109-сильным «атмосферником» (150 Нм) объемом 1,6 литра в паре с шестиступенчатой «механикой» и 1,5-литровым турбомотором, который, выдавая 150 л. с. (210 Нм), сочетается либо с той же шестиступенчатой «механикой», либо с бесступенчатым вариатором.
Вторая модель называется «Москвич 3е» и является электрической копией первой. Это перелицованный JAC iEVs4, который на 360 кг тяжелее бензинового (1800 кг снаряженной массы против 1440 кг), а вместо ДВС у него единственный 68-сильный электромотор SY Power TZ200XSIEM1 на передней оси, сопряженный с тяговой батареей Sinoev 21011S4C4 емкостью 187 А·ч. Расчетный запас хода — 410 км.

Местом производства в документах значится Московский автозавод «Москвич» (бывший «Renault Россия» в Текстильщиках), однако заявителем в ОТТС прописан КАМАЗ. Челнинский автогигант выступает главным технологическим партнером проекта и за производство будущих «Москвичей» де-факто будет отвечать именно он.
Напомним, «Москвич» воссоздали на мощностях бывшего завода «Renault Россия» в районе Текстильщики. Площадка перешла под контроль правительства Москвы в мае, когда Renault решила продать свои активы в России. Одновременно французы передали свою долю в АВТОВАЗе (67,7%) в пользу подведомственного Минпромторгу ФГУП НАМИ с опционом обратного выкупа в течение шести лет.
На первом этапе все «Москвичи» будут собираться крупноузловым (отверточным) методом из готовых машинокомплектов. В этом году завод планирует выпустить первые 600 автомобилей, из которых 200 будут электрическими. В 2023 году объем вырастет до 50 тыс. единиц (из них 10 тыс. электромобилей), а в 2024-м, когда производство перейдет на полный цикл – до 100 тыс. единиц, включая 20 тыс. электромобилей.