Компания Mazda запатентовала автомобиль с вертолетной площадкой для дрона
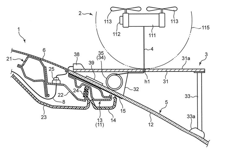
Компания Mazda запатентовала автомобильную взлетно-посадочную площадку для квадрокоптера. По замыслу производителя, она должна крепиться на заднее стекло и выступать своеобразным портом, обеспечивающим связь дрона с электроникой машины, пишет 110km.ru.

Предполагается, что благодаря этой площадке коптер сможет оперативно соединяться с электронными системами автомобиля, с помощью которых можно будет дистанционно управлять им, не выходя из машины.

Выступая для коптера своеобразной «точкой доступа», запатентованное устройство позволит ему автоматически взлетать и приземляться даже во время движения автомобиля, а также исключит возможность ошибочных приземлений на другие машины.
Сама Mazda свой патент пока никак не комментировала, поэтому о его истинном предназначении остается только догадываться. Не исключено, что такая площадка станет опцией, которую можно будет добавить к топовым комплектациям некоторых моделей за дополнительную плату.