Volkswagen хочет избавиться от классических «поворотников»
В Volkswagen планируют в обозримом будущем полностью отказаться от классических «поворотников». На это указывает новая патентная заявка концерна, поданная в Немецкое ведомство по патентам и товарным знакам.

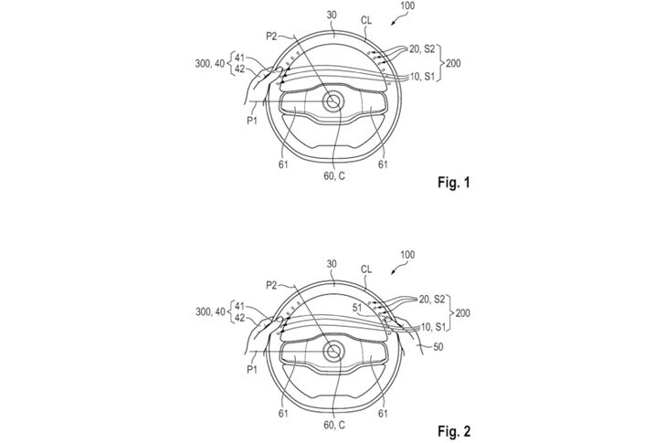
Volkswagen запатентовал новую конструкцию рулевого колеса с различными элементами управления, такими как переключатели указателей поворота, установленными на внутренней стороне обода. Эти кнопки, как указано в патентной документации, могут быть физическими, сенсорными или комбинированными.
Как следует из описания патента, элементы управления будут устанавливаться на левой и правой сторонах рулевого колеса. Кнопками слева пользователи смогут выбирать основную функцию, а с помощью правых настраивать дополнительные опции. Например, при нажатии левой кнопки может активировать настройку головной оптики, а с помощью правых — включать/выключать дальний свет, противотуманки и так далее. Помимо этого, на кнопки на рулевом колесе можно будет вынести управление некоторыми функциями мультимедийной системы.

В Volkswagen уверены, что их новое решение позволит сделать управление автомобилем еще безопаснее, поскольку водителю больше не придется убирать руки с руля, чтобы во время движения активировать ту или иную функцию автомобиля.
Сроки реализации запатентованной Volkswagen технологии в патентных документах не указаны. Неизвестно и то, какая модель немецкой марки первой получит новый многофункциональный руль.
Кстати, на днях в Сети появились первые подробности о новом Volkswagen Passat. Чем удивит модель девятого поколения, рассказывали «Автоновости дня».
Источник: CarBuzz










