Компания BMW запатентовала в США новый селектор коробки передач для своих автомобилей
Компания BMW запатентовала выдвижной селектор трансмиссии, способный отвечать не только за переключение передач, но и за ряд других функций автомобиля. Схемы новейшей разработки мы нашли в Бюро по патентам и товарным знакам США.

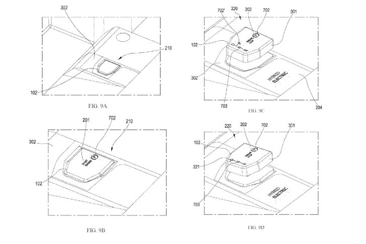
Судя по всему, речь идет о круглом шестиугольном джойстике, который будет автоматически подниматься из центральной консоли с началом движения и опускаться после остановки. Помимо этого, он сможет отвечать за стояночный тормоз, остановку и запуск двигателя.



Любопытно, что для моделей с ДВС предназначена одна версия селектора, а для «электричек» и гибридов – другая. У вторых немцы сохранят традиционные обозначения режимов (D, N, R, P), а вот у первых, по всей видимости, трансмиссия сама будет переключаться между режимами в зависимости от используемых педалей и прочих обстоятельств.
Когда выдвижной селектор появится на серийных автомобилях BMW, и появится ли вообще, пока неизвестно. Не исключено, что сначала баварцы опробуют его на одном из будущих концептов, а затем запустят и в массовое производство.








